Stainless Steel Under Platform Ladder, Spring Loaded

Features

  • 304 or 316 stainless steel tubing options available
  • Space saving, stows under swim platform
  • Built to ABYC H-41 Requirements
  • Can Support up to 400lbs

 

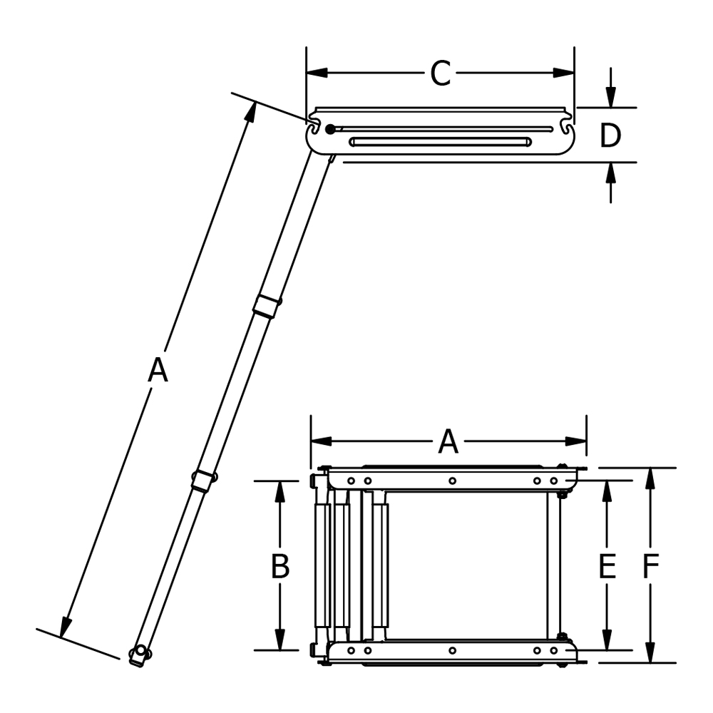
PART NO. STEPS STAINLESS VERSION A DEPLOYED A STOWED B C D E F
B00301UHK 3 304 33.77″ 16.31″ 10” 15.85” 3.23” 10.05” 11.55”
B00301UHK-316 3 316 33.77” 16.31” 10” 15.85” 3.23” 10.05” 11.55”

Description

While stored, the ladder uses a notch in the bracket itself to stow the spring-loaded ladder with a built-in retaining pin. This keeps the ladder safely stored until you’re ready to use it! To deploy, simply press the ladder in, lift out of the notch, and the internal springs help to extend the ladder for you!

High polish finish. Available in 304 stainless steel marine grade tubing for durability, strength, and corrosion resistance.

Additional information

U/M

Each

Composition

304 Stainless Steel Tubing

Finish

High Polished

Installation Guide: