Additional information
| U/M | Pair |
|---|---|
| Composition | 304 Stainless Steel Tubing |
| Finish | White Powder Coated |
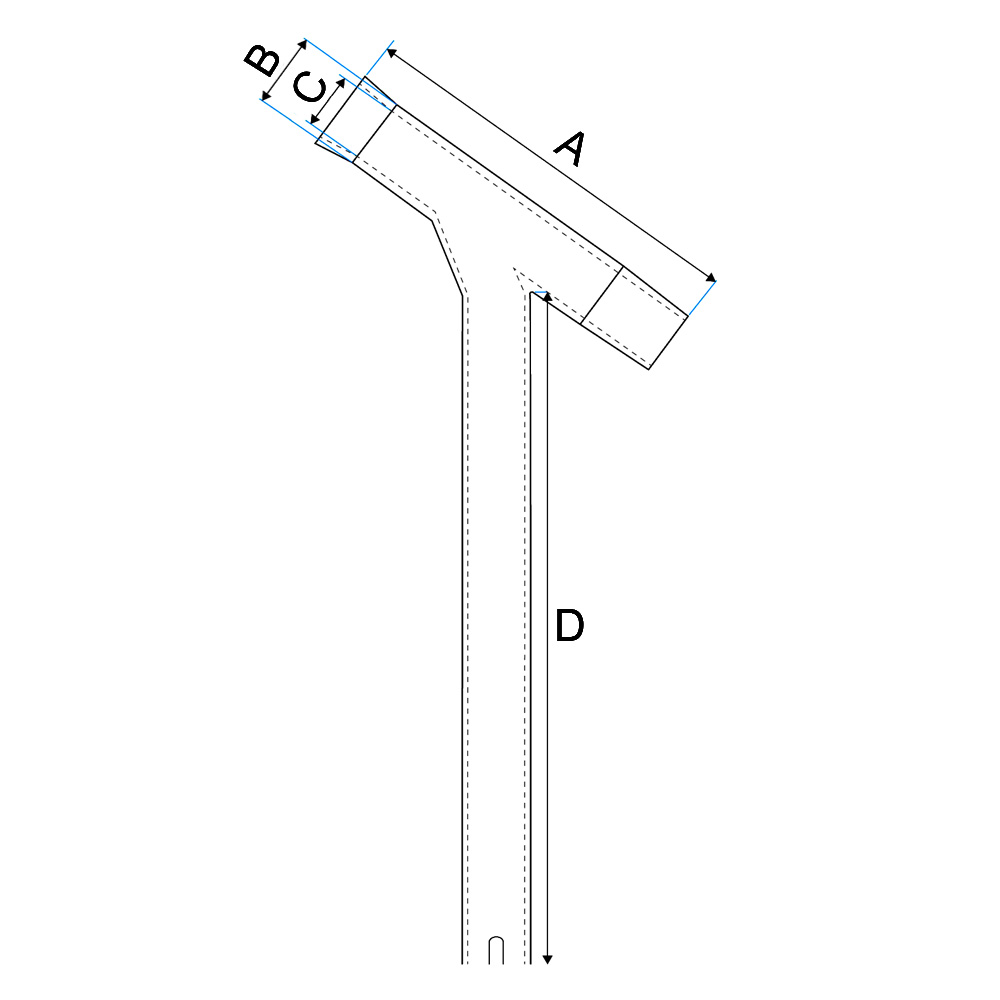
| PART NO. | A | B | C | D | E |
|---|---|---|---|---|---|
| 53308S-W | 10″ | 2-1/4″ | 1-13/16″ | 1-3/4″ | 17-1/4″ |
| U/M | Pair |
|---|---|
| Composition | 304 Stainless Steel Tubing |
| Finish | White Powder Coated |