Additional information
| U/M | Each |
|---|---|
| Composition | Cast 316 Stainless Steel |
| Finish | High Polished |
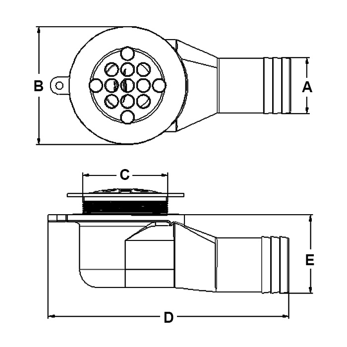
| PART NO. | A | B | C | D | E | DECK THICKNESS |
|---|---|---|---|---|---|---|
| 8302S | 1-1/2” Hose | 3-7/32” | 2-5/16” | 6-5/8” | 2-5/32” | 0” to 3/4″ |
| U/M | Each |
|---|---|
| Composition | Cast 316 Stainless Steel |
| Finish | High Polished |